Yamaha may be gearing up to make semi-automatic transmissions far more mainstream. New patent filings reveal a simplified version of the brand’s Y-AMT (Yamaha Automated Manual Transmission) system—one that’s cheaper, lighter, and easier to adapt to almost any conventional motorcycle.

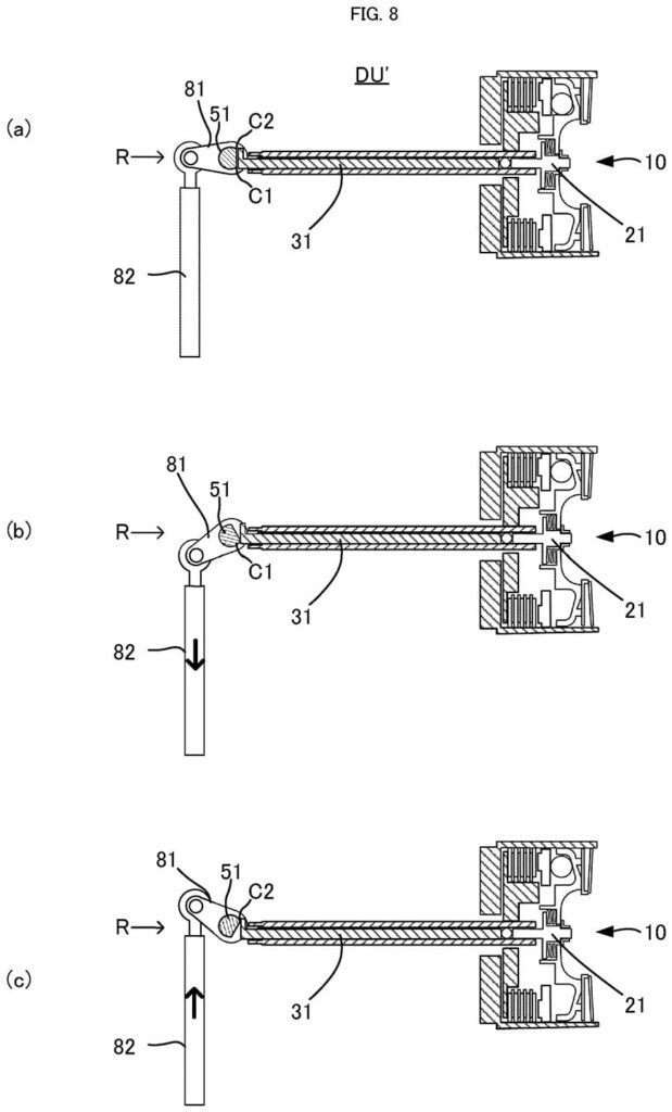
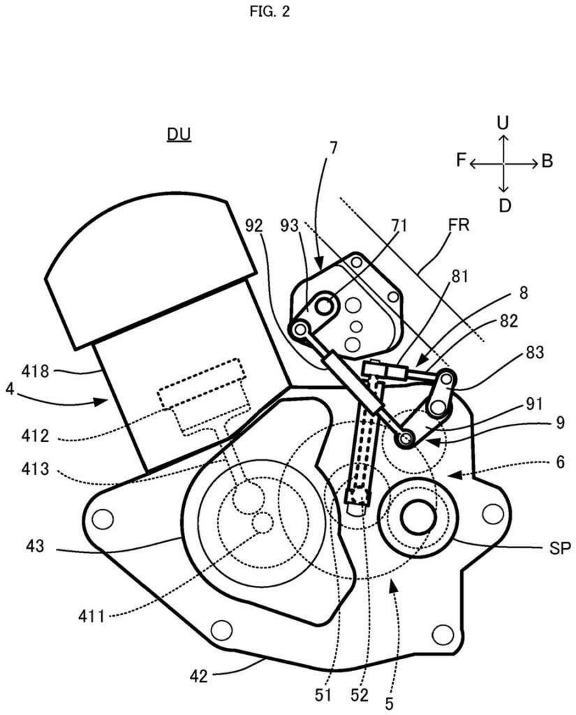
Unlike the current Y-AMT setup, which uses two separate actuators, the new design relies on a single electromechanical servo to handle both clutch operation and gear changes. Mounted externally, the servo effectively replaces the traditional foot shifter, turning the same splined shaft your left foot normally would. At the same time, a linked mechanism momentarily disengages the clutch during shifts before smoothly re-engaging it once the gear change is complete.

From a rider’s perspective, this means clutch-free shifts at the push of a button—or even fully automatic gear changes—depending on how Yamaha programs the ECU. The system still works with a conventional manual gearbox, keeping the mechanical soul intact while reducing rider workload.

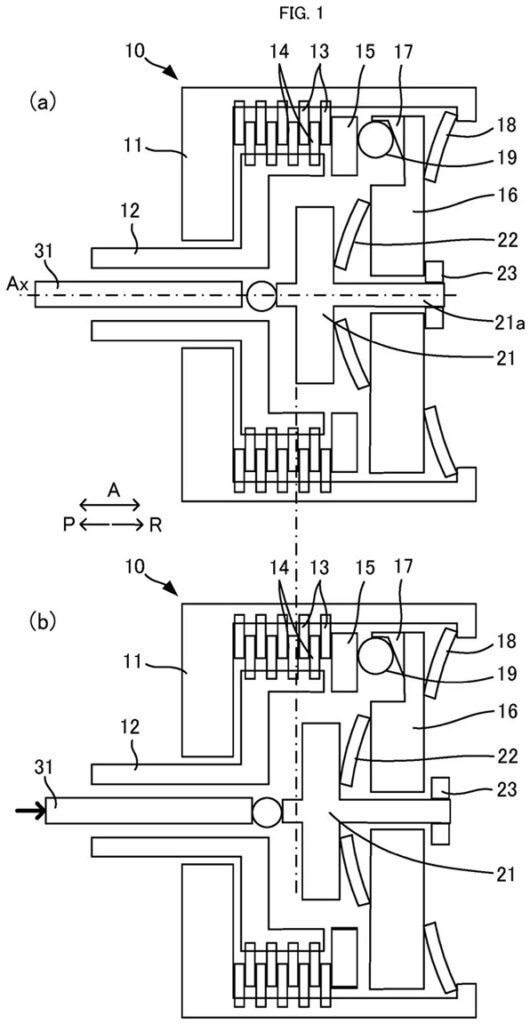
To solve the tricky bits of stopping and starting, Yamaha pairs the setup with a centrifugal clutch. Similar to what’s seen on scooters and newer semi-auto bikes, the clutch disengages at idle and re-engages as revs rise, enabling smooth pull-aways and stall-free stops.

Crucially, Yamaha’s patent highlights that this simplified Y-AMT can be fitted to existing engines and transmissions with minimal redesign. That opens the door for wider adoption—from everyday commuters to entry-level single-cylinder bikes aimed at new riders.






