It seems that Indian Motorcycle has found a way to include advanced rider aids in its head-turning cruisers without disrupting their styling by hiding a forward-facing radar system inside the headlamp of its big touring machines.
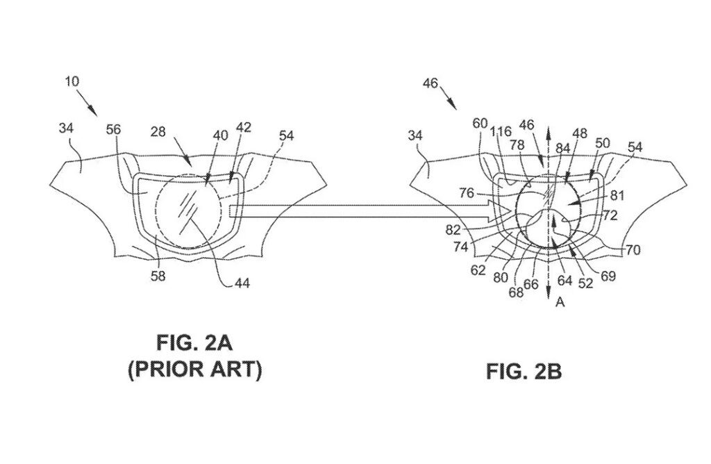
While rivals like BMW and KTM have already strapped visible radar pods to their bikes, Indian knows cruiser riders are picky about aesthetics. A bulky sensor slapped on the shining machine just wouldn’t cut it. Instead, the American brand has filed a patent for a redesigned headlamp that discreetly houses the radar unit behind the lens—keeping the classic circular lamp intact while adding futuristic safety tech.

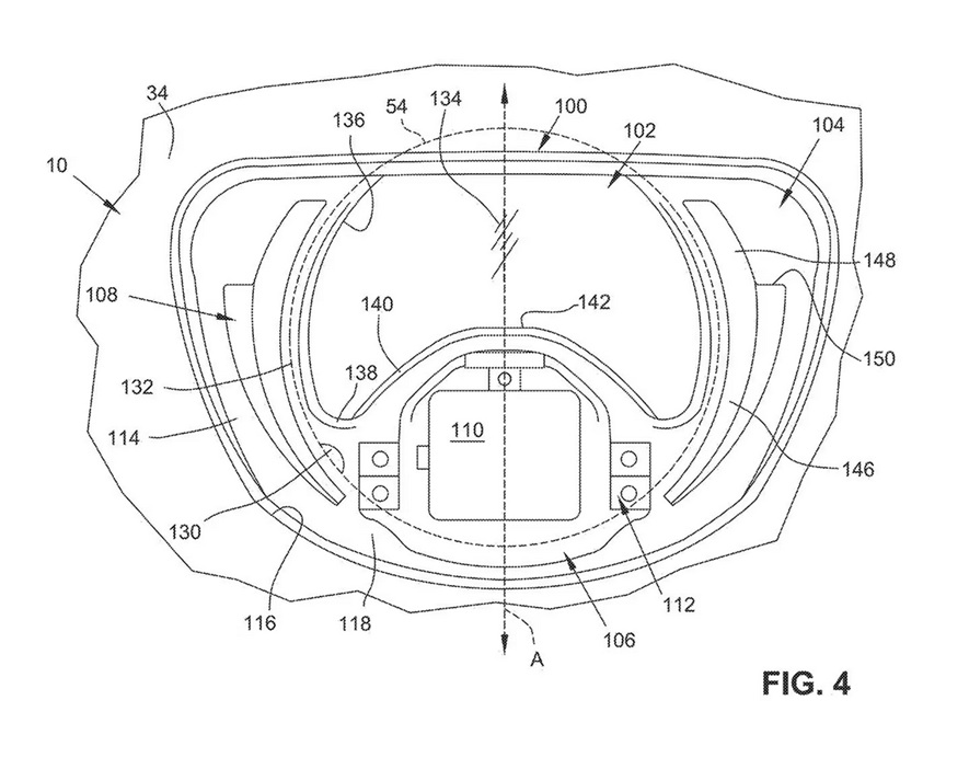
The design splits the headlight into two sections: the upper crescent-shaped unit handles LED high and low beams, while the lower section conceals the radar sensor. Because radar waves can pass through plastic lenses without interference, Indian effectively hides the hardware in plain sight. The result? A clean, traditional face with brains lurking just behind the glass.

This move isn’t just about style—it’s a big leap in functionality. Indian has already introduced rear-facing radar for blind-spot monitoring on several models, but this patent confirms it’s preparing to bring adaptive cruise control and possibly even more advanced rider aids to its heavyweight cruisers. Think crash-mitigation, smoother group riding tech, and eventually pairing with semi-automatic transmissions for seamless throttle and gear control in traffic.

For riders who value both chrome and the latest rider aid tech, this could be the best of both worlds. Imagine a Roadmaster or Challenger that not only turns heads on the streets but also shadows traffic with radar precision—all without spoiling the bike’s iconic silhouette.






